Properties

Browse or get in touch to schedule a walkthrough.

  • Nearby me
Price range

Popular features

Community features

Property features

Waterfront

View

Exterior Features

Interior Features

Style

10000 properties match your criteria

Updated 1 minute ago

E-Alert name

New on site today
Luxury golf course estate perfectly positioned on the 5th hole tee box offering over 5,700 sq ft of total living space, including a separate guest house. This stunning home features expansive open-concept living, soaring ceilings, and beautiful fairway views throughout. The gourmet kitchen flows seamlessly into spacious living and dining areas--ideal for entertaining. Step outside to your private resort-style pool and outdoor living spaces overlooking the course. The detached guest house provides incredible flexibility for guests, multigenerational living, or a home office. A rare opportunity to own a premier golf course property combining elegance, privacy, and lifestyle.
#995696

Navarre

2770 Masters Boulevard

5 Beds

4 Baths

5,760 Sq.Ft.

$1,275,000

MLS#: 995696

New on site today
Welcome to timeless Southern charm in the highly sought-after Le Chateau community of Rocky Bayou in Niceville. Nestled on an expansive .59-acre lot backing up to peaceful green space, this Victorian-style beauty offers character, privacy, and modern updates in one unforgettable property. From the moment you arrive, the inviting wrap-around porch sets the tone -- perfect for morning coffee, evening gatherings, and effortless entertaining. Inside, soaring vaulted ceilings and a cozy wood-burning fireplace create a warm yet grand living space, accented by durable wood-look tile flooring. French doors open to your private backyard retreat featuring a sparkling gunite swimming pool with a brand-new pool pump -- ideal for enjoying Florida sunshine year-round. The lush, thoughtfully landscaped yard is a true green thumb's dream, filled with blooming flowers and natural beauty. The updated kitchen has new stainless steel appliances and modern finishes, offering both function and style. Downstairs, you'll find a spacious bedroom with an ensuite bath and its own private courtyard -- a perfect guest suite or serene primary retreat. A large utility room adds convenience and storage. Upstairs features three generously sized bedrooms. One enjoys a private bathroom, while the other two share a well-appointed full bath. A newly installed staircase banister adds a fresh touch to the home's classic charm. Additional upgrades include new insulation, a new water heater, and a transferable termite bond for peace of mind. The property also boasts a large detached two-car garage and a separate workshop in the back -- perfect for hobbies, storage, or additional workspace. Located in the private Le Chateau neighborhood with direct golf cart access to Rocky Bayou Country Club, this home is also conveniently situated near Eglin Air Force Base, Duke Field, the 7th Special Forces Group, and the EOD Naval School. This is more than just a home -- it's a lifestyle of charm, space, and convenience in one of Niceville's most desirable neighborhoods.
#995702

Niceville

821 Lake Amick Drive

5 Beds

4 Baths

3,071 Sq.Ft.

$799,900

MLS#: 995702

New on site today
Perfectly positioned in the heart of Inlet Beach within the desirable Water View subdivision, 135 Grayling Way offers a true turnkey opportunity along the iconic Scenic Highway 30A corridor. Just minutes from Rosemary Beach and only .3 mile from your doorstep to the sand, this fully furnished 3 bedroom, 3 bathroom beach home blends comfort, quality, and investment potential.Thoughtfully updated and impeccably maintained, this property has never been rented and reflects exceptional owner care, including seasonal pressure washing, proactive whole-home maintenance, active termite bond, and professional landscape upkeep. Recent improvements include updated HVAC units, new hot water heater, outdoor shower, rain gutters, fenced backyard with covered entertaining oasis, and added storage closets for enhanced functionality.

Inside, the open and inviting layout comfortably accommodates multiple guests, making it ideal as a primary residence, second home, or income-producing short-term rental. Rental projections exceed $85,000 annually!!!, offering strong income potential from day one. Generous storage throughout sets this home apart from typical beach properties, adding practical convenience for both owners and guests.

Outdoor living spaces create the perfect setting to unwind after a day on the Gulf, whether rinsing off under the outdoor shower, gathering around the fire in the evening, or relaxing beneath the covered patio. An extra-wide bike path just around the corner connects seamlessly to 30Avenue and extends over the bridge toward Panama City Beach. Pedestrian access through the nearby tunnel allows safe and easy passage beneath Highway 98 toward 30A and Rosemary Beach.

Beach access is effortless via Inlet Beach Regional Beach Access at the southern end of South Orange Street, the largest access point in Walton County. Amenities include ample parking, restrooms, showers, and expansive natural dunes. Just offshore lies Grouper Reef, a popular artificial snorkel reef approximately 970 feet from shore, known for vibrant marine life including fish, dolphins, and sea turtles.

Nature lovers will appreciate being just one mile from Camp Helen State Park, home to Lake Powell, one of the largest and rare coastal dune lakes in North America. Enjoy kayaking, paddleboarding, and exploring preserved coastal landscapes. The eastern end of 30A also provides quick access to Pier Park shopping and dining, as well as Northwest Florida Beaches International Airport (ECP) for convenient travel.


With nearby beach access just .3 mile away, a location that consistently commands demand, and a fully furnished, move-in-ready property positioned for immediate rental income, 135 Grayling Way delivers exceptional value along 30A. Whether you're seeking a personal coastal retreat or a high-performing investment property, this Inlet Beach home offers refreshed interiors, rental-ready convenience, and a prime location near Rosemary Beach and the Gulf.
#995700

Inlet Beach

135 Grayling Way

3 Beds

2 Baths

1,772 Sq.Ft.

$749,900

MLS#: 995700

New on site today
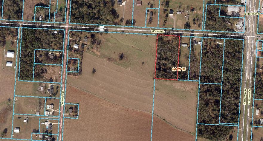
Opportunities like this don't come around often. This expansive ±93-acre tract offers a rare chance to secure a large footprint along a well-traveled corridor with substantial frontage and outstanding visibility. With the majority of the property currently zoned for commercial use, the groundwork is in place for a wide range of potential development concepts, investment strategies, or long-term holds.

The acreage stretches deep, providing flexibility for phased projects, mixed-use possibilities, or strategic land banking. Portions of the property may include low-lying areas or natural features, offering character and potential for creative site planning. Buyers are encouraged to conduct their own feasibility studies, surveys, and due diligence regarding zoning, wetlands, utilities, and intended use.

Positioned near established residential pockets and growing activity, this location offers both accessibility and room to build something significant. Whether you're looking to expand your portfolio, develop at scale, or secure a prime piece of land in a path of growth, this is a tract that demands attention.

Large acreage. Strong exposure. Serious potential.
#785492

Panama City

0 Hwy 231

None Beds

None Baths

93.0 acres

$1,500,000

MLS#: 785492

New on site today
Rare Development Opportunity in Lynn Haven - 4.71 Acres (High & Dry)
Presenting a prime 4.71-acre parcel located within the city limits of Lynn Haven. This high-and-dry property offers an exceptional opportunity for builders and developers seeking to invest in one of the area's most desirable and rapidly expanding communities.  Zoned R-1 (Single-Family Residential), the property includes conceptual plans for either a 16-lot single-family subdivision . Plans can be finalized to align with your specific vision, making this a versatile and ready-to-advance project.  Surrounded by newly constructed subdivisions and conveniently located near top-rated schools, dining, and shopping, this parcel is ideally positioned to meet the growing demand for quality housing in the area.  Opportunities of this scale and location are increasingly limited.
#785494

Lynn Haven

4231 Hwy 389

None Beds

None Baths

4.71 acres

$675,000

MLS#: 785494

New on site 1 day ago
Country living with room to breathe!

This move-in ready 3-bedroom, 2-bath double-wide sits on 7.28 acres in Graceville and offers the perfect blend of privacy, space, and convenience. Built in 2004, the home features a comfortable layout with over 1,200 heated square feet, a spacious living area, and an updated kitchen with refrigerator and stove replaced in 2022.



Situated on a corner lot with Highway 173 frontage, the property gives you easy access while still enjoying the feel of a quiet rural road. With well and septic already in place and plenty of land for animals, gardening, equipment, or future improvements, this property is ideal for anyone looking for true farm or country living.



If you've been searching for acreage, privacy, and a home you can move into right away -- this is one you'll want to see.
#785434

Graceville

1413 Walker Road

3 Beds

2 Baths

1,248 Sq.Ft.

$300,000

MLS#: 785434

New on site today
LITTLE TO NO POWER BILL! Welcome to your coastal sanctuary in the gated community of Magnolia Bay Club. This meticulously maintained 2,000-square-foot home offers a rare and highly desirable floor plan that perfectly accommodates comfortable, full-time living or a multi-generational setup. A spacious primary retreat is conveniently located on the first floor, making everyday living an absolute breeze. Upstairs, you'll find a second generously sized master suite, alongside two additional bedrooms connected by a highly functional Jack-and-Jill bathroom, providing fantastic privacy and space for family or guests. Move-in ready and kept in excellent condition, this home boasts a private, detached two-car garage. Living in Magnolia Bay Club means embracing a resort lifestyle right at your doors doorstep. Residents enjoy exclusive bayfront access, a community boat dock, a sparkling resort-style pool, and a playground. Plus, with the HOA handling the landscaping, you can spend less time on yard work and more time enjoying the beautiful Panama City Beach surroundings. Don't miss the opportunity to make this standout property your new primary residence. Schedule your private showing today! Solar Panel loan to be assumed or paid off by buyer at closing.
#995698

Panama City Beach

2407 Grandiflora Boulevard

4 Beds

3 Baths

2,000 Sq.Ft.

$400,000

MLS#: 995698

New on site today
Brand-new (2026) Orchid florplan, showstopper on arguably the best, most private street in the neighborhood -- a cul-de-sac with a park at its center. This spectacular home offers 4 bedrooms, 3.5 baths, a loft and a dedicated office, all flooded with natural light from soaring 20-foot ceilings. The open chef's kitchen features upgraded Cafe appliances, a waterfall quartz island and matching quartz backsplash. Luxury vinyl plank flooring flows throughout the entire home. Enjoy cozy evenings by the grand fireplace or relax on the covered back porch protected by a privacy wall -- the backyard backs up to a preserve, providing additional privacy. The luxurious primary suite includes a bathtub in the master bathroom. Additional highlights: extended garage, front porch with park views, and thoughtful modern finishes throughout. A rare new build with premium upgrades in a serene, park-centered cul-de-sac.
Professional photography coming soon!
#995699

Inlet Beach

115 Orman Court

4 Beds

3 Baths

3,096 Sq.Ft.

$1,200,000

MLS#: 995699

New on site today
ONLY 4 Miles to the BEACH!! 3 Bedroom / 2 Bath Home in FAST Growing Navarre, Florida! Features and Upgrades include: 2024 AC & Gas Heat / 2018 Dimensional Shingle Roof / 2013 Gas Hot Water Heater / 2009 Garage Door / Pantry / Vaulted Ceilings / Bay Window / Tile & Vinyl Plank Flooring / Custom Tiled Master Shower / Oversized One Car Garage / No HOA.  Cardinal Estates is a One Way In / One Way Out Circle Shaped Subdivision with Sidewalks that is Conveniently Located Close to Restaurants & Shopping.  Less than 1/2 Mile from Walmart SuperCenter and 1.5 Miles to the New Publix Shopping Center.  Approx 7 Miles to Hurlburt Field and Less than 4 Miles to the Most Beautiful Beaches on the Emerald Coast and ALL the FUN this Area has to offer! Buyer to Verify all Dimensions and Information!
#995697

Navarre

2137 Estates Circle

3 Beds

2 Baths

1,001 Sq.Ft.

$264,900

MLS#: 995697

New on site today
Gross Rental Income numbers for both 2024 & 2025 at $77k. GRI. PRIME Location! Welcome to your beach-side escape! Perfectly positioned only 300 yards from the sugar white sands of Panama City Beach! NEW Roof installed 2023! Located on the East End of PCB, this stunning town-home blends modern coastal style with comfort and fun. Just a block from Rick Seltzer Park and the crystal-clear Gulf waters, you'll enjoy quick beach access, ocean breezes, and the sound of waves all day long. Step inside to a light-filled, open layout that sleeps up to 12 guests comfortably. Every detail has been beautifully updated--floors, counters, baths, lighting, and decor--making this home truly turnkey. Multiple patios and balconies invite you to unwind outdoors, with a peek-a-boo Gulf view and the scent of salt air in the breeze. Outside, the large fenced-in yard is your personal oasis--complete with a fire pit, lawn games, ping pong, and outdoor showers for easy beach clean-up. Evenings come alive under string lights while you enjoy a cool drink and the coastal night air. Inside, you'll find a modern kitchen with a coffee bar and island seating, a spacious dining area, and a cozy living room--perfect for gathering after a day on the sand. Upstairs, three inviting bedrooms include a private primary suite, a guest room, and a fun bunk room the kids will love. Top Features: Just 300 yards to the beach, Custom fire pit + lawn games, Game garage w/ ping pong & arcade, Outdoor showers, Patios w/ smart TV for movie nights, Fenced yard for kids & pets. Prime Location: 100 yards to Finn's Caf?? & Taco Bar, 2 miles to Schooners & Walmart, 5 miles to The Pour Coffee Shop, 8 miles to Pier Park. Whether you're seeking a family retreat or a high-performing vacation rental, this home has it all--coastal charm, unbeatable location, and endless amenities. Experience the best of Panama City Beach living--schedule your showing today!
#995706

Panama City Beach

7401 Beach Drive # B

3 Beds

2 Baths

1,294 Sq.Ft.

$479,000

MLS#: 995706

New on site today
LITTLE TO NO POWER BILL! Welcome to your coastal sanctuary in the gated community of Magnolia Bay Club. This meticulously maintained 2,000-square-foot home offers a rare and highly desirable floor plan that perfectly accommodates comfortable, full-time living or a multi-generational setup. A spacious primary retreat is conveniently located on the first floor, making everyday living an absolute breeze. Upstairs, you'll find a second generously sized master suite, alongside two additional bedrooms connected by a highly functional Jack-and-Jill bathroom, providing fantastic privacy and space for family or guests. Move-in ready and kept in excellent condition, this home boasts a private, detached two-car garage. Living in Magnolia Bay Club means embracing a resort lifestyle right at your doorstep. Residents enjoy exclusive bayfront access, a community boat dock, a sparkling resort-style pool, and a playground. Plus, with the HOA handling the landscaping, you can spend less time on yard work and more time enjoying the beautiful Panama City Beach surroundings. Don't miss the opportunity to make this standout property your new primary residence. Schedule your private showing today! Solar Panel loan to be assumed or paid off by buyer at closing.
#785487

Panama City

2407 Grandiflora Boulevard

4 Beds

3 Baths

2,000 Sq.Ft.

$400,000

MLS#: 785487

New on site today
Prime office opportunity in Fort Walton Beach! Located at 1013 Mar Walt Drive, this 1,200 SqFt commercial space is offered at $200,000. Ideal for professional services, medical, or small business use, the property features a functional layout with multiple work areas, reception potential, and convenient access for clients and staff. Positioned in a well-traveled area with excellent visibility and accessibility, this space offers strong potential for owner-occupants or investors seeking an affordable commercial property on the Emerald Coast.
#995709

Fort Walton Beach

1013 Marwalt Drive A

None Beds

None Baths

N/A

$200,000

MLS#: 995709

New on site today
OWNER FINANCE AVAILABLE 
Enjoy stunning sunset views from the west side of the iconic Fontainebleau, where the Gulf of Mexico feels right at your doorstep--there's simply no property closer to the water. This beautifully updated 4th-floor unit offers an unbeatable beachfront location paired with effortless coastal living.
The unit features a full bathroom and a convenient kitchenette, thoughtfully refreshed with new kitchen cabinetry, a new sink, and updated bathroom flooring. Designed with simplicity and ease in mind, this condo is easy to maintain, making it ideal for a lock-and-leave beach retreat or second home.
The building offers elevator access, onsite laundry, and a reserved parking space for added convenience. Owners and guests enjoy access to a resurfaced pool (2020), an exercise room, and an owners' lounge on the 5th floor with panoramic Gulf views--perfect for unwinding while watching the sun dip below the horizon.
The HOA covers electricity, water, sewer, cable, Wi-Fi, and trash, allowing for straightforward, worry-free ownership with fewer monthly variables to manage.
Located just under a mile from Pier Park, you're minutes from shopping, dining, and entertainment while still enjoying a peaceful beachfront setting. Whether you're looking for a personal getaway or a second home by the sea, this property delivers location, convenience, and classic coastal charm
#785495

Panama City Beach

14401 Front Beach Road 403

1 Beds

1 Baths

330 Sq.Ft.

$162,000

MLS#: 785495

New on site today
***LOCATION IS EVERYTHING!!!*** Situated on the south side of the complex, this 1BR/1.5Ba condo is less than a 5 minute walk to the beach. It features a great open concept living area w/ breakfast bar, a large Primary Suite w/ a king-sized bed, plus a bunk area for extra guests. Additional highlights include a full bathroom with a shower/tub combo, a convenient half bath, a new in-unit washer and dryer (no driving to the laundry facility!), the 1st floor location, which means no steps, and  parking right in the front. The current owners have made many upgrades including a new air handler, water heater, LVP flooring, lights, ceiling fans, refrigerator, dishwasher, microwave, disposal, and storm door. Horizon South is a gated, golf cart-friendly community with direct access to the beach, less than a 5-minute drive to Pier Park with its amazing shops, restaurants, and attractions, less than 20 minutes to the airport, and from this unit's phenomenal location, you can walk to Coconuts Bar & Grill, beach shops, the ice cream shop, or McGuires's Irish Pub, which are all less than half a mile away! Amenities include four pools (one heated seasonally), a kiddie pool, hot tub, tennis and pickleball courts, shuffleboard, mini golf, newly renovated fitness center and billiards room, event space, and more. Owners may bring pets, and HOA dues cover water, internet, trash, grounds maintenance, building insurance, and security. If you're looking for a full-time residence, vacation getaway, or short-term rental investment in an unbeatable location, you have found it. CALL TODAY! (Additional photos coming soon.)
#785482

Panama City Beach

17462 Front Beach Road 76F

1 Beds

1 Baths

608 Sq.Ft.

$240,000

MLS#: 785482

New on site today
Welcome to 18006 Overland Avenue, where country living meets modern comfort and endless possibilities! This spacious double-wide manufactured home offers 4 bedrooms and 3 bathrooms, situated on an expansive 0.83-acre lot spanning across 5 lots (135x250 dimensions). With ample space, you can build your dream home, expand the current property, or simply enjoy the open land.

This home comes with a brand new roof, new HVAC system, and a new hot water heater, ensuring peace of mind for years to come. It also features a septic system. Nestled just down the street from the picturesque Econfina Creek, known for its crystal-clear waters, this location is a haven for outdoor enthusiasts. Spend your days canoeing, water tubing, or exploring the nearby natural beauty.

Zoned R-2 Limited Multi-Family, this property opens up a range of possibilities for future use. Conveniently located just 40 minutes from Northwest Florida International Beaches Airport, you'll have easy access to both rural tranquility and modern conveniences.

All measurements deemed necessary should be verified.
#785484

Fountain

18006 Overland Avenue

4 Beds

2 Baths

1,512 Sq.Ft.

$150,000

MLS#: 785484

1 ... 16 17 18 19 20 ... 666
* Listings identified with the FMLS IDX logo come from FMLS and are held by brokerage firms other than the owner of this website. The listing brokerage is identified in any listing details. Information is deemed reliable but is not guaranteed. If you believe any FMLS listing contains material that infringes your copyrighted work please click here to review our DMCA policy and learn how to submit a takedown request. Ā© 2024. First Multiple Listing Service, Inc.
 - property

Send a message

Message successfully sent.

Your message

What is 3 + 4 ?

Reason for contacting?

Sign Out

Virtual Assistant

Would you like to take the next step with this property? We can help you schedule a showing or virtual tour, or send you more details.

Yes, I would like more information.

Thank You for Your Reply, One of Our Agents will contact you as soon as possible

No, maybe later.

Thank you, you can always contact me via email, phone number or through the contact form.

Realhub AI

Lucy - Your AI-Powered Realtor

Update Your Temporary Password

Personalize your search

Enter your email and we'll notify you immediately when new listings match what you're looking for.

or enter email address

Already have an account ? Login here

Continue your home search

Already have an account ? Login here

We use cookies

We use cookies primarily for analytics to enhance your experience. By accepting, you agree to our use of these cookies. You can manage your preferences or learn more about our cookies policy.